Космонавтика  Макетирование схем усилителей 

1 2 3 4 5 6 7 8 9 10 11 12 13 14 15 16 17 18 19 20 21 22 23 24 25 26 27 28 29 30 31 32 33 34 35 36 37 38 39 [ 40 ] 41 42 43 44 45 46 47 48 49 50 51 52 53 54 55 56 57 58 59

щем виде:

(12.9)

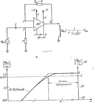
При приближении частоты со в уравнении (12.9) к О рад/с ViibiK приближается к О В. На высокой частоте, когда со стремится к бескопечности, f/вых равно Е- Так как данная схема не является идеальным фильтром, ее частотная характеристика не идеальна (рис. 12.7, б). Сплошная линия на этом рисунке представляет реальную АЧХ, а пунктиром показана ее линейная аппроксимация. Амплитуда коэффициента усиления с обратной связью при со/?С=1 равна 0,707. Следовательно, частота среза

(ОсрС 2п/срС

(12Л0а)

(12.106)

Причина, по которой (12.106) разрешено относительно R, а не относительно С, состоит в том, что обычно в фильтрах верхних частот выбирается величина С наряду с соср, а R вычисляется. Расчет схемы рис. 12.7, а включает следующие этапы:

1. Выбор частоты среза соср или /ср.

2. Выбор удобного значения С.

3. Вычисление значения R из уравнения (12.106).

4. Выбор /?о. c = R.

Пример 12.7. Вычислите а) соср и б) /ср для схемы рис. 12.7, а, если R= =22 кОм и С=0,01 мкФ.

Решение, а) Из (12.10а) имеем

1

Ыср-(22.103) (0,01.10-6)

4540 6,28

/ср =

= 4540 рад/с.

= 724 Гц.

12.5.3. Фильтр с наклоном характеристики 40 дБ/декада. Схема на рис. 12.8, й должна по расчету служить фильтром Баттерворта верхних частот с наклоном характеристики ниже частоты среза <Оср, равным 40 дБ/декада. Чтобы удовлетворить критериям, предъявляемым к фильтрам Баттерворта, АЧХ должна быть на уровне 0,707 при частоте соср и на уровне О дБ в пределах полосы пропускания. Эти условия будут выполнены, если придерживаться следующей процедуры расчета:


Рис 12 7 Основная схема (а) и частотная характеристика (б) фи.тьтра верх- них частот с крутизной 20 дБ/декада.

1 Выбираем частоту среза соср или /ср.

2. Положим С, = С=С и выберем подходящее значение этой емкости.

3. Вычислим значение Rx по формуле

Р 1л111 (12.11)

4. R.=kR. (12-2>

5. Для минимизации сдвига по постоянному току примем

Ro.c=R\.





Пример 12.8. Пусть в схеме по рис. 12.8, а Ci = C2=0,01 мкФ. Вычис-jmib значения а) Ri и б) R2 для частоты среза 1 кГц.

Решение, а) Из уравнения (12.11)

1,414

рг, =22,5 кОм.

1 - 6,28 (1 103) (0.01.10-6) б) i?2= 1/2 (22,5 кОм) 11,3 кОм.

Пример 12.9. Вычислить а) Ri и б) R2 для схемы рис. 12.8,а, имеющей частоту среза 80 000 рад/с. Ci=C2=125 пФ.

1,414

Решение, а) Из (12.11)

1 =(80:i03)7l2510-i2) б) i?2=V2(140 кОм)=70 кОм.

140 кОм.

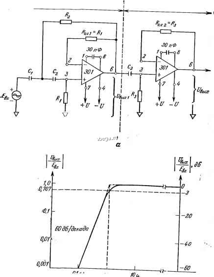
12.5.4. Фильтр с наклоном характеристики 60 дБ/декада. Как

и в случае фильтра нижних частот по рис. 12.5, фильтр верхних частот с наклоном 60 дБ/декада можно сконструировать каскадным соединением фильтров с наклоном 40 и 20 дБ/декада. Эта схема (как и другие фильтры верхних и нижних частот) рассчитывается как фильтр Баттерворта, имеющий АЧХ, представленную на рис. 12.9,6. Расчет схемы рис. 12.9, а производится в следующем порядке:

1. Выбираем частоту среза соср или fcp.

2. Полагаем С1 = С2 = Сз = С и выбираем подходящий номинал.

3. Определяем Rz по формуле

/?з=г. (12.13)

4. Полагаем

5. Берем

ШсрС

Ri=2R.

R=kRz-

(12.14>

(12.15). току выбираем

6. Для минимизации сдвига по постоянному Ro.c,\=Ri и Ro.c,2=R3.

Пример 12.10. Пусть в схеме рис. 12.9, а С = С2=Сз=С=0.1 мкФ. Определить а) Rs, б) Ri и в) R2 для частоты среза 1000 рад/с.

Решение, а) Из уравнения (12.13)

R3 = (ЫОЗ) (О, МО- )

б) Ri=2Rs=2-\0 кОм=20 кОм.

в) i2=i/2i3=i/2-10 кОм=5 кОм.

Пример 12.11. Определить а) Rs, б) Ri и в) R2 для схемы рис. 12.9, а, имеющей частоту среза 60 кГц и С1=С2=Сз=С=220 пФ.



дБ/декада

20 дБ/декада


ср Ыср

частот

Решение, а) Из (12.13)

3 6,28 (60-103) (220.10-12)

= 12 кОм.

б) Rr-

В) R2 =

=2i?3= 42R3

2-12 кОм=24 кОм. = 72-12 кОм=6 кОм.

При желании можно включить фильтр с наклоном АЧХ ..О дБ/декада перед фильтром, имеющим наклон АЧХ 40 дБ/декада, поскольку операционные усилители, имеющие развязку выхода от входа, не нагружают друг друга.

12.5.5. Сравнение коэффициентов передачи и фазовых сдвигов.

В табл. 12.5 приведено сравнение модулей Ко.с трех описанных выще фильтров верхних частот. При каждом увеличении крутизны на 20 дБ/декада схема фильтра обеспечивает лучшее приближение к О дБ на частотах свыше Оср.

Фильтр Баттерворта верхних частот с крутизной 20 дБ/декада на частоте соср сдвигает фазу сигнала на 45°. Фильтр с крутизной 40 дБ/декада в тех же условиях обеспечивает сдвиг по фазе,

Сравнение Кс.

Таблица 12.5 для схем по рис. 12.7, а, 12.8, а и 12.9, а

20 дБ/декада рнс. 12.7, а

O.lcOcp

0,25£0ср О.БсОсР

4ыср

0,25

0,445

0,707

0,89

0,97

40 дБ/декада рис. 12.8, а

0,01

0,053

0,24

0,707

0,97

0,998

60 дБ/декада рис. 12.9, а

0,001 0,022

0,124 0,707 0.992 0,999 1.0

Таблица 12.6

Сравнение опережения по фазе в схемах по рис. 12.7, а, 12.8, а и 12.9, а

20 дБ/декада

40 дБ/декада

60 дБ/декада

рис. 12.7, а

рис. 12.8, а

рис. 12.9. а

O.lcocp

84°

172?

256°

0,25£0ср

76°

143°

226°

0,5а(ср

63°

137°

210°

45°

90°

2tt)cp

27°

43°

60°

4юср

14°

21°

29°

Юшср

12°



1 2 3 4 5 6 7 8 9 10 11 12 13 14 15 16 17 18 19 20 21 22 23 24 25 26 27 28 29 30 31 32 33 34 35 36 37 38 39 [ 40 ] 41 42 43 44 45 46 47 48 49 50 51 52 53 54 55 56 57 58 59