Космонавтика  Конструирование интегральных микросхем 

1 2 3 4 5 6 7 8 9 10 11 12 13 14 15 16 17 18 19 20 21 22 23 24 25 26 27 28 29 30 31 32 33 34 35 36 37 38 39 40 41 42 43 44 45 46 47 48 49 50 51 52 53 54 55 56 57 58 59 60 61 62 63 64 65 66 67 68 69 70 71 72 73 74 75 76 77 78 79 80 81 82 83 84 85 86 87 88 89 90 91 92 93 94 95 96 97 98 99 100 101 102 103 104 105 106 107 108 109 110 111 112 113 114 115 116 117 118 119 120 121 122 [ 123 ] 124 125 126 127 128 129 130 131 132 133 134 135 136 137 138 139 140 141 142 143 144 145 146 147 148 149 150 151 152 153 154 155 156 157 158 159 160 161 162 163 164 165


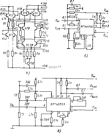
Рнс. 5.47. Балансный модулятор КРИ0МА1: а - принципиальная электрическая cxcfia (в скобках приведено назначение выводов микросхемы 140.Ч.М); б - схема включения; в - фазовый детектор

постн эмитторны.\ Д1г (канал Y): AIbhx- Д1-хЬ-. На подключсннь1Х к коллекторам перемножающих транзисторов нагрузочных резисторах Р выделяется напряжение ивыхС>оЛ1хД1уРн.

Дифференциальный усилитель на транзисторах VT5, VT8 и VT12, VT15 выполняет роль преобразователя входного напряжения в разность токов эмиттеров узла перемножения. Линейная за-висимосгь разности токов эмиттеров перемножителя от входного напряжения по входу Y достигается включением резистора Ry между эмиттерами дифференциального усилителя (выводы 4 и 10). Напряжением иа входе Y регулируется ток эмиттеров транзисторов VT6, VT9, VT11, УТИ. Поскольку токи транзисгоров VT7 и VT13



зафиксированы, разность этих токов ДЬ =2Ui/Ry. Диапазон линейных входных напряжений (до ±5 В) достигается за счет высокого напряжения пигания, равного ±12 В.

Схема Дарлингтона (VT5, VT8 и VT12, VT15) служит для увеличения сопротивления по входу Y. Для увеличения входного сопротивления по входу X в схему модулятора включен дифференциальный каскад на транзисторах VT1 и VT3 по схеме ОЭ. Этот каскад управляет токами баз перемножителя. Исходя из того, что вход Y - линейный, а входной дифференциальный усилитель имеет коэффициент усиления 2,8, передаточную характеристику модулятора можно записать в виде Lbhx= (2R , Ну)ЬМ1т(их/2хФт) причём U-,< <±5 В. Ток эмиттеров фиксируется генератором стабильного тока (ГСТ) на транзисторах VT2, VT4, VT7 и VT13. Напряженне смещения на базы транзисторов ГСС поступает от транзистора VTIO в диодном включении

Если замкнуть выводы 2 и 12 между собой и присоединить их иа корпус через нормирующий резистор R, то ток через диод смещения 1д=(и, -U3bI,/(600 + R), где 1д - ток диода (VTIO); U n- отрицательное напряжение питания; 035-падение напряжения на переходе эмиттер - база; R - сопротивление резистора, определяющего ток; значение 600 - примерное значение внутреннего сопротивления диода. Ом. Чтобы на вход можно было подать высокое входное напряжение и при этом обеспечить линейность преобразования, напряжение на коллекторах транзисторов дифференциального усилителя должно быть не менее напряжения входиого сигнала. Нормальный рабочий режим достигается подачей необходимого смещения на базы транзистором VT1 и VT3 (вход X) через делитель напряжения от источника питания. Модулятор может работать от си.мметричных и несимметричных источников питания, при этом необходимо следить за согласованием нагрузки по входам и выходу.

В схеме балансного модулятора микросхема KPHO.iVIAl работает от источников питания с напряжением ±12 В (рис. 5.41,6), режим по постоянному току задается делителем (номиналы резисторов 3,6...2,4 кОм). Уровень тока по входам X и Y устанавливается с помощью резистора с номиналом 5,6 кОм, включенн.ого между выводами 2 и 5 корпусом. Входы X и Y схемы развязаны конденсаторами. Для предотвращения са.мовозбуждения в цепи выводов 8 и 3 включены последовательные резисторы с помина лом 51 Ом.

Пример схемы фазового детектора, построенного ня базе мгк-росхемы КРИОМ-ЛК показан на рис. 5.47, е. Работа линейного фазового детектора основана ия следующем тригонометрическом уравнении; cos cot cos((ut9) =[Ki соз(2ю1+ф) i-K2 cos ф], где Ki и К? - масштабные коэффициенты. Используя фильтр нижних частот, можно выделить петхомучо составляющую, пропорциональную значению совф. Модулятор в этом случае служит перемножителем гармонгтче-ских функций.

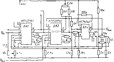
На рис. 5.48 приведена принципиальна. схема четырехквадрант-ного АП, построенного на двух микросхемах КР140МА1 (DA1 и DA3). На одной микросхеме КР140МА1 нельзя построить схему с большим диапазоном входных напряжений, так как вход X (выводы 8 и 3) линейно принимает сигнал только при входных уровнях и <ф. Для обеспечения линейности работы узла перемножения

24* 371



HP!59HT;


Pile. 5.48. Четыре.хквадраптный перемножитель на базе К.Р140МА1

в е.хему необходимо добавить уетройство предварительного логарифмирования входного сигнала, так как эта функция обладает свойством сжи.мать диапазон.

Перемножит ель DA1 работает в схеме предварительного нелинейного преобразования, выходное напряжение которой пропорционально логарифму входного напряжения. В этой микросхеме используется только один управляющий вход (вход Y умножителя), а на выводы 3 и 8 подано постоянное напряжение. Включенный между выводами 3 и 8 диод полностью открывает транзисторы VT6 и VT14 (см. рис. 5.47, а) и закрывает транзисторы VT9 и VTH, Выходной ток зависит только от напряжения на входе.

Токи выводов 9 и 12, проходя через транзисторы в диодном включении (DA2), создают иа них разность потенциалов, пропорциональную логарифму входного напряжения, и в результате выходное напряжение АП Ui,m.x = 2R (.iU,Uy , RxPv -сопро-

тивления резисторов по выводам 7 н 14 перемиожнтелей D.Al и DA3 соответственно.

Выходное напряжение DA3 при симметричных источниках питания ±12 В имеет постоянны!! уровень -J-9 В. Для приведения постоянного уровня выходного напряжения к нулевому применена схема смещения, выполненная на ОУ КР140УД7 с масштабным коэффициентом 1<=10, При этом Urbix=KiK2K3UxUY где Ki = 2Нн/ /qRx Ry -Коэффициент перемножения АП; k2=ri2/R!2rii - коэф-ф1щиеит передачи делителя; Кз= Rn/riillri2 - коэффициент усиления схемы смещения. Для указанной схемы KiK2K3 = 0,l, При линейно изменяющемся напряжении на входе DA1 и ступенчатом напряжении с шагом 2 В по входу DA3 линейность перемножения не менее 2 %.

Аналоговый перемножитель К525ПС1 (рис. 5.49, о) содержит схему предварительного нелинейного преобразования. На основе АП К525ПС1 значительно упрощается построение четырехквадрант-



1 2 3 4 5 6 7 8 9 10 11 12 13 14 15 16 17 18 19 20 21 22 23 24 25 26 27 28 29 30 31 32 33 34 35 36 37 38 39 40 41 42 43 44 45 46 47 48 49 50 51 52 53 54 55 56 57 58 59 60 61 62 63 64 65 66 67 68 69 70 71 72 73 74 75 76 77 78 79 80 81 82 83 84 85 86 87 88 89 90 91 92 93 94 95 96 97 98 99 100 101 102 103 104 105 106 107 108 109 110 111 112 113 114 115 116 117 118 119 120 121 122 [ 123 ] 124 125 126 127 128 129 130 131 132 133 134 135 136 137 138 139 140 141 142 143 144 145 146 147 148 149 150 151 152 153 154 155 156 157 158 159 160 161 162 163 164 165